Gün geçmiyor ki otomobil üreticileri ve otomotiv yan sanayi firmaları yeni teknolojileri ile karşımıza çıkmasınlar. Kimi zaman akla yatan kimi zaman ise oldukça çılgın ve saçma diyebileceğimiz projeler geliştiren firmalar seri üretime geçsin yada geçmesinler bu projeleri geliştirerek bir nevi beyin fırtınası yaparlar. Bu tip çalışmalar başta saçma ve uygulanamaz gibi görünse de umulmadık yerlere uzanabilir ve ete kemiğe bürünebilirler. Bu nedenle de hiçbir fikri ve projeyi küçümsememek gerekiyor diye düşünüyoruz.
Bu doğrultuda en son olarak Japon Honda markası ilginç ve bir o kadar da faydalı bir uygulama için patent başvurusunda bulundu ve aracın yan camlarının karartılabilmesine olanak sağlıyor. Burada bazı takipçilerimizin itirazı olabilir ve cam karartma teknolojilerinin yeni olmadığını söyleyebilirler. Özellikle de Mercedes’in üstü açılır cam tavanlı araçlarında kullandığı Magic Sky Control teknolojisini örnek gösterebilirler. Mercedes’in karartma teknolojisinin detaylarını aşağıdaki videoda izleyebilirsiniz.
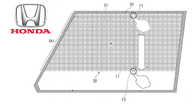
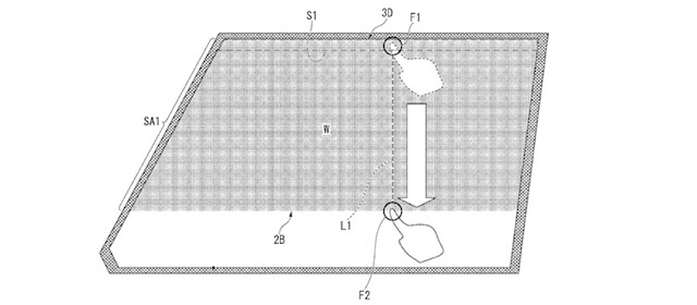
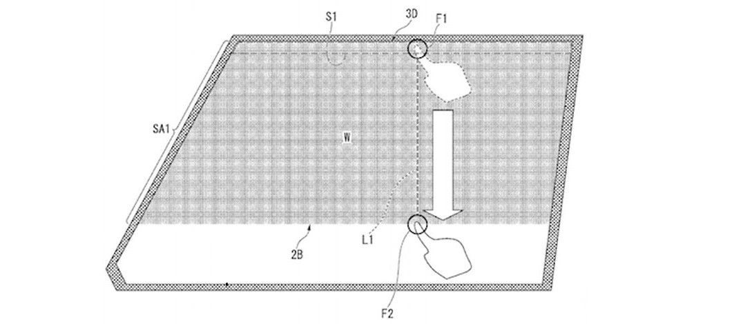
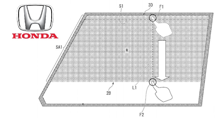
Diğer taraftan Honda’nın karartma teknolojisinin Mercedes’in Magic Sky Control sistemi ile pek de bir alakası bulunmuyor. Honda aracın yan camlarına yoğunlaşıyor ve 4 camın da ayrı ayrı bir noktan bir başka noktaya kadar parmak hareketi ile parçalı olarak karartılmasını sağlıyor. Aşağıda patent başvurusunda kullanılan çizimden anlatım yaparsak konu daha rahat anlaşılabilir. Araç içindeki kişi parmağını F1 noktasına dokunduruyor ve karartmak istediği nokta olan F2’ye kadar parmağını kaydırıyor. Bu kaydırma hareketi aynen dokunmatik ekrana sahip cihazlarda yaptığımız parmak hareketine benzetilebilir ve bunun sonucu olarak da cam istenen seviyeye kadar kararıyor. Burada camın nasıl bir teknolojiye sahip olduğu açık bir şekilde belirtilmiyor ancak ipucu olarak elektronların hareketinden bahsediliyor.
Honda’nın dokunmatik parçalı cam karartma teknolojisinin sürücü ve yolcuları aşırı şekilde rahatsız eden yandan gelen güneş ışığını kesmesi için kullanılacağı belirtiliyor. Ön yolcuların kullandığı güneşliklere ve arka yolcular için de elle yapıştırılan perdelere ve storlu perdelere bu teknoloji ile veda edebilecek gibi görünüyoruz. Ayrıca ön cam için de rahatlıkla uygulanabilir ve karşıdan gelen güneş ışığını da rahatlıkla istenilen noktaya kadar kesebilir. Sistemin çalışma prensibinde araç dururken karartma işleminin uygulanabileceği belirtiliyor ancak özellikle araçtaki yolcular seyahat sırasında aracın sürekli yön değiştirmesine bağlı olarak camı karartıp tekrar koyuluğu açmak isteyebilirler. Kısacası camda kalacak parmak izlerini bir kenara bırakırsak sistem geliştirilmeye açık ve oldukça da faydalı görünüyor.

















































