İçten yanmalı motorlar yüzyılının üzerinde bir zamandır başarı ile kullanılıyor ve bu süre içinde elektrik motorları hariç ciddi bir alternatifleri olmadı. Elektrikli motorlar ise pil teknolojisinin gelişmesiyle daha yeni yeni yaygınlaşmaya başladı. Fosil yakıt kullanan bu motorların ne zaman ortadan kalkacağı ise sık bir şekilde konuşulur hale geldi ancak arka arkaya gelen teknolojik gelişmeler içten yanmalı motorların bu duruma direneceğini gösteriyor. (Kapak resmi temsilidir)
Geçtiğimiz yıl İsveçli supersport otomobil üreticisi Koenigsegg, egzantrik mili olmayan motor konseptini tanıtmıştı. Geçtiğimiz günlerde ise ekonomik araçlar üreten Çinli Qoros markası egzantrik milsiz motorun kullanıldığı bir modeli tanıttı. Koeniggsegg markasının ardından Qoros’un da bu şekilde bir tanıtım yapması bahsi geçen teknolojinin gerçekten de uygulanabilir olduğunu gösteriyor. Sonuçta ekonomik modeller üreten bir markadan böyle bir hamle gelmiş olması çok daha ümit verici bir gelişme olarak dikkat çekiyor. Diğer taraftan turbo teknolojisi de günden güne gelişiyor. En son olarak Audi 1 tanesi elektrikli olan 3 turbolu dizel motorunu tanıtmıştı. BMW ise 4 turboya sahip olan dizel motorunu tanıtmıştı. Her iki motor da gerek performansları gerekse de tüketimleri ile oldukça başarılı değerlere sahip.
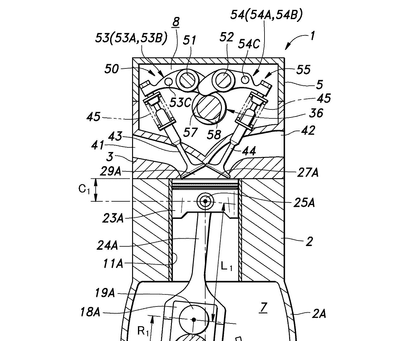
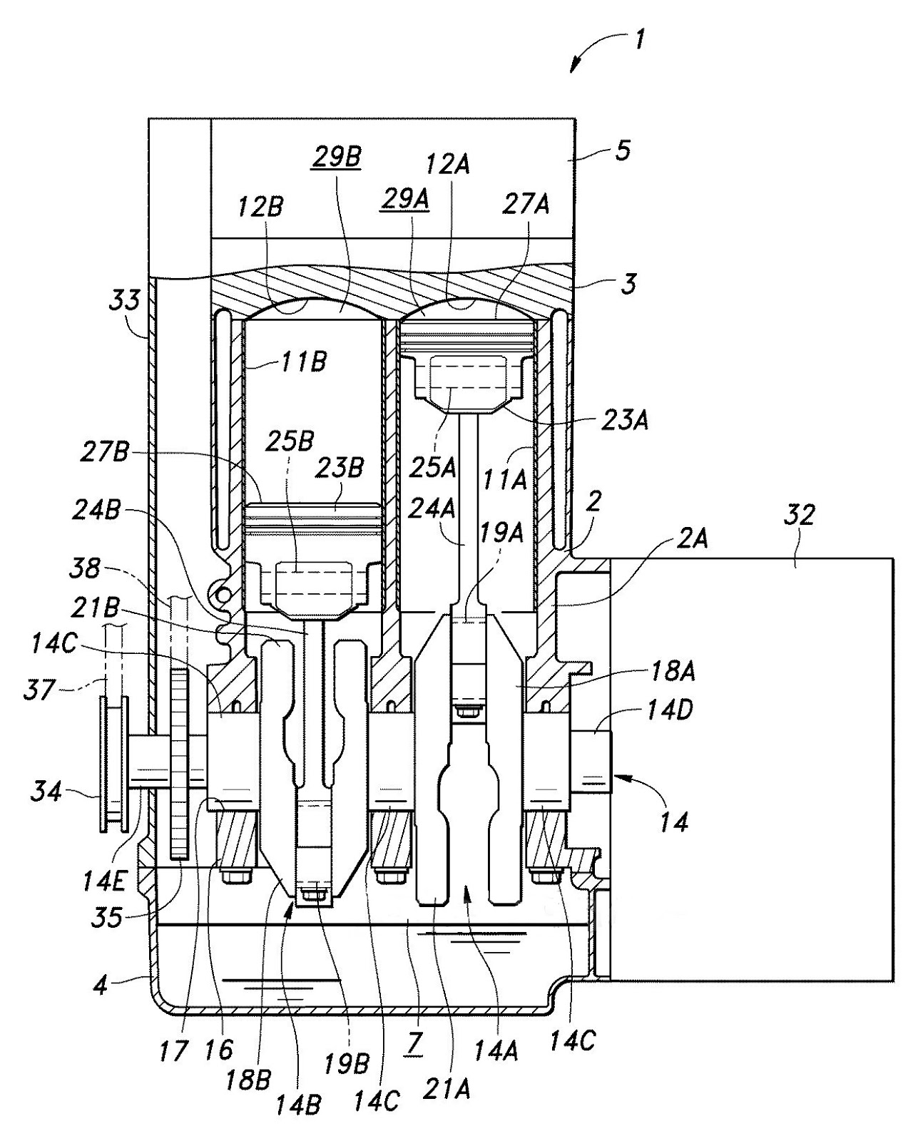
Şimdi ise yaşanan bir gelişme geleceğin içten yanmalı motorlarının nasıl olabileceğine dair daha da fazla ışık tutuyor. Honda tarafından tasarlanan ve patent çizimleri görüntülenen bu motorda pistonlar farklı çap ve yüksekliklere sahip. Ayrıca krank milinin kol boyları da bu nedenle farklı uzunluklarda tasarlanmış. Bunun sonucu olarak da yanma odalarının hacimleri birbirlerinden farklı. Yani 4 silindirli bir motor için 4 farklı hacimde yanma odası karşımıza çıkıyor. 2.000cc hacme sahip 4 silindirli bir motor için örneğin 600cc, 550cc, 450cc ve 400cc olarak 4 farklı yanma odası olabilir. Bu değerleri konunun rahat anlaşılması için verdiğimiz için tamamen tahmini belirtilmiştir. Böyle bir veri Honda tarafından belirtilmemiştir.
Ancak farklı piston ve krank ölçülerinin bu hali ile herhangi bir kazancı bulunmuyor. Dikkat çeken esas teknoloji ise VW markasının ACT yani silindir kapatma sistemine benzer bir mekanizma ile ortaya çıkıyor. Silindirlerin farklı düzenlerde çalıştırılması sayesinde çok farklı ve değişken silindir hacimleri elde edilebiliyor. 4 silindirli bir motor için 1, 2, 3 veya 4. pistonların ayrı ayrı veya kendi aralarında ikişerli veya üçerli ve en son olarak tümünün beraber çalıştırılması durumunda çok farklı hacim kombinasyonları ortaya çıkıyor. Akılda kalma açısından Dalton Kardeşlerin her birinin bir piston olduğunu düşünebilirsiniz. Farklı boylarda olması sayesinde her bir silindirin farklı tüketim, güç ve tork değerleri olacaktır.
Bu şekilde bir çalışma sayesinde kullanıma göre ekonomik tüketime sahip silindir tek başına devrede iken güç ihtiyacına bağlı olarak diğer silindirler tek tek veya hepsi beraber devreye girebiliyor. Otobanda 90km/saat ile sabit bir şekilde seyreden bir araçta en ekonomik silindir yeterli olabilir ve bu sayede oldukça düşük tüketim değerleri de elde edilebilir. Veya şehir içi kullanımda 2 veya 3 silindir devrede olabilir. Performanslı kullanımlarda ise 4 silindir birden devrede olarak maksimum güç elde edilebilir. Ayrıca güç ve tork ihtiyacına göre tek başına 1,2 ,3,4 veya 1-3, 1-4, 2-3, 3-4 veya 1-2-3, 1-2-4, 2-3-4 ve benzeri silindir dizilimleri ortaya çıkabilir.
Patent çizimlerinde sıralı 2, 3, 4 ve V şeklinde 6 silindirli motorların üzerinde çalışıldığı anlaşılıyor. Gerçek kullanımda tüketim ve performans olarak ne kadar fayda sağlayacağını veya üretime geçecek derecede fiyat-performans getirisine sahip olup olmayacağını bilemiyoruz ancak mantık olarak oldukça iyi bir teknoloji ve içten yanmalı motorların tüketim değerlerini oldukça aşağı çekebilecek niteliklere sahip. Motor konusunda birçok markadan önde olan Honda’yı bu konuda tebrik etmek gerekir.
BUICK: Amerika’nın en eski otomobil markası olan Buick 1899 yılında kurulmuştur. İsmini kurucusu olan İşkoçya doğumlu David Dunbar Buick’den almaktadır. Zamanında Amerikan piyasasının Cadillac’dan...